OEM Connettore coassiale RF da 2,4 mm Supplier

Ningbo Hanson Communication Technology Co., Ltd. Casa / Prodotti / Connettore coassiale RF / Connettore coassiale RF da 2,4 mm

Connettore coassiale RF da 2,4 mm

Descrizione:

Il connettore della serie da 2,4 mm è un connettore RF ad alta frequenza progettato per applicazioni ad alta precisione e ad alta frequenza, in particolare per le occasioni di trasmissione del segnale che richiedono una gamma di frequenza di trasmissione di 40 GHz o anche superiore. È la scelta ideale per fornire connessioni di segnale ad alte prestazioni nella banda di frequenza delle microonde, comunicazione ad alta velocità e campi di test e misurazione di precisione.

Parametro:

Principali Specifiche Tecniche:
◆ Impedenza caratteristica: 50Ω
◆ Gamma di frequenza: DC-50GHz
◆ Resistenza di isolamento: ≥5000MΩ
◆ Tensione di resistenza dielettrica: 500 V (rms)
◆ Rapporto onda stazionaria di tensione (VSWR): ≤1,35
◆ Cicli di accoppiamento: 500 volte

Informarsi

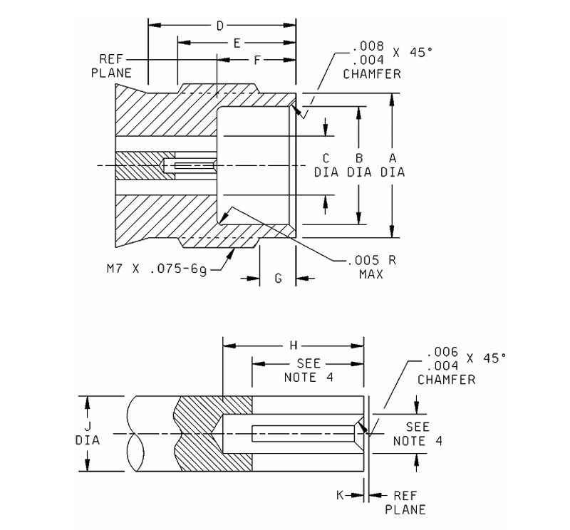
Letteraa Millimetri (pollici)
Minimo Massimo
UN 4.725 (.186) 4,75(.187)
B 2.393(.094) 2.408(095)
C 1,85 (.073) 2,45 (.096)
E 4,75(.187) 4,85(.191)
F 1.035(.0407) 1,05 (.0413)
G 1,34 (.053) 1,45 (.057)
H 0,498(.0196) 0,523 (.0206)
J ---------- 0,25(.010)
K 0,00 (.000) 0,08 (.003)

Note:
1. La lunghezza della filettatura è dall'estremità del dado di accoppiamento, minimo 4,37 mm (0,172 pollici), 0,63 mm (0,025 pollici)±0,25 mm (0,010 pollici).
2. Con il dado di accoppiamento spinto nella direzione in avanti.
3. Le dimensioni sono in millimetri.
4. Gli equivalenti pollici-libbre sono forniti solo a titolo informativo.
5. Controforo 7 mm (0,276 pollici) minimo.

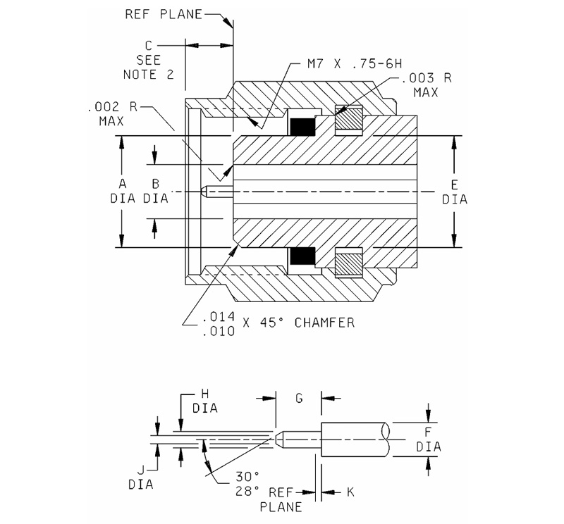
Letteraa Millimetri (pollici)
Minimo Massimo
UN 4.725(.186) 4,75 (187)
B 2.393 (.094) 2.408 (.095)
C 1,85 (.073) 2,45 (.096)
E 4,75(.187) 4,85 (.191)
F 1.035(.0407) 1,05 (.0413)
G 1,34 (.053) 1,45 (.057)
H 0,498 (.0196) 0,523(.0206)
J -------- 0,25 (.010)
K 0,00(.000) 0,08 (.003)

Note:
1. La lunghezza della filettatura è dall'estremità del dado di accoppiamento, minimo 4,37 mm (0,172 pollici), 0,63 mm (0,025 pollici)±0,25 mm (0,010 pollici).
2. Con il dado di accoppiamento spinto nella direzione in avanti.
3. Le dimensioni sono in millimetri.
4. Gli equivalenti pollici-libbre sono forniti solo a titolo informativo.
5. Controforo 7 mm (0,276 pollici) minimo.

2,4 mm SERIES
  • 2.4-JB2
    2.4-JB2
    Modello Tipo di cavo
    2.4-JB2 SFT-50-2.670-086
  • 2.4-J125
    2.4-J125
    Modello Tipo di cavo
    2.4-J125 125
  • 2.4-J230
    2.4-J230
    Modello Tipo di cavo
    2.4-J230 MILFLEX230

RIMANIAMO IN CONTATTO

[#ingresso#]
INVIA
Chi siamo
Ningbo Hanson Communication Technology Co., Ltd.
Ningbo Hanson Communication Technology Co., Ltd.
Ningbo Hanson Communication Technology Co., Ltd. is China Connettore coassiale RF da 2,4 mm Supplier and Custom Connettore coassiale RF da 2,4 mm Company. We are a manufacturer specializing in the production, processing, and trade of communication components, with more than 30 years of experience in RF coaxial connectors, adapters, and cable assemblies. L'azienda ha ora sviluppato una propria officina meccanica, un'officina galvanica, un'officina di assemblaggio e un gruppo di fornitori stabili e affidabili. Lo scopo dell'azienda è fornire ai clienti prodotti di alta qualità. I prodotti principali sono connettori coassiali RF, adattatori, cavi assemblati ad alta frequenza e cavi assemblati a bassa intermodulazione. Inoltre, l'azienda può anche fornire servizi ai clienti con esigenze personalizzate per soddisfare le esigenze speciali dei clienti per i prodotti. I prodotti dell'azienda sono ampiamente utilizzati nel settore aerospaziale, nelle stazioni base di comunicazione, nelle apparecchiature mediche e in altri settori high-tech. Al momento della riforma aziendale, dell'innovazione, dello sviluppo e della crescita, l'azienda ha preso l'iniziativa di aderire al sistema di gestione della qualità internazionale ISO9001 e ha migliorato continuamente il livello di gestione in modo da fornire prodotti e servizi più soddisfacenti a vecchi e nuovi clienti.
Ultime notizie
Cerchi opportunità di business?

Richiedi una chiamata oggi